|

UK Patent No. GB1121630.
Controlling the spin of a golf ball, to prevent slicing or hooking
or topspin. The ball has flaps 1 which are normally held flush with
the surface of the ball by magnets. If the ball has been mishit
and is spinning, the centrifugal effect overcomes the magnetic force,
and the flaps project as shown to reduce the spin. Additionally,
the internal structure of the ball reflects radio waves from a homing
device carried by the golfer, making it easier to find if it is
lost in the rough.
|
|
 |
UK Patent No. GB1047735.
Piping snow and ice balls from Antarctica to irrigate the Australian
desert. The patent suggests this will solve the world famine problem.
The snowballs accelerate under gravity from 10,000 feet (3,000m) high
on the Antarctic plateau, reaching 500 miles per hour (800km/hr) at
sea level. They are then pumped naturally through the pipelines, by
the Coriolis force due to the Earth's rotation. |
|
UK Patent No. GB1405575.
A horse-powered car, putting the cart before the horse. To control
the speed, the car's accelerator pedal varies the thrust which the
horse must exert to reach its feedbox 2. The brake pedal is linked
to the horse's halter. The ignition switch can give the horse's
posterior a mild electric shock to stimulate it into movement.
|
|
| UK Patent No. GB1251780.
A practice golf tee. Photocells monitor the path of the club head.
If they detect that the player is about to hook or slice the ball,
a puff of compressed air passes along the conduit 1" and up the
middle of the tee. This blows the ball off the tee so that the player
misses it, and does not have to search for a lost ball. |
 |
|
 |
UK Patent No. GB1153249.
A television tower with a revolving restaurant, an airship mooring
mast, and a transparent globe for transcendental meditation. The passenger
elevator floats up on water pumped from an underground reservoir.
There are tanks in the tower for gravity supply of beer to the surrounding
district.
Pedrick envisaged a world-wide system of such towers. If you were
rich enough, you would be able to spend your entire life off the
ground level, moving from one tower to another in airships fitted
with sleeping accommodation.
|
|
| UK Patent No. GB1204648.
Irrigating the Sahara Desert by piping fresh water from the mouth
of the Amazon. The patent also suggests an alternative to the Channel
Tunnel between England and France. Both use a semi-buoyant tube submerged
200 feet below the sea surface. |
 |
|
 |
UK Patent No. GB1361962.
Pedrick's ultimate deterrent to solve the Cold War. The UN places
three nuclear bombs on earth-orbiting satellites. If these detect
that one of the superpowers has been nuked by one of the others, they
are automatically programmed to drop on Washington, Moscow and Peking,
ensuring the mutual destruction of all three. |
|
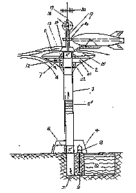
| UK Patent No. GB1439086.
Since ocean liners are now uneconomic, a large, luxurious aircraft
is made by strapping together the bodies of five Boeing 747s. The
aircraft can land on water, and flies just 100 or 200 feet above the
ocean surface (which is safer in the event of a bomb threat or other
emergency). |
 |
|
 |
UK Patent No. GB1453920.
A solution to a "Towering Inferno" fire in a skyscraper.
Rolled-up fire curtains are provided at roof level. When a fire starts,
the curtains are released to envelope the sides of the building and
extinguish the fire by suffocating it. So that the occupants of the
building can breathe, they must go to certain rooms, where apertures
in the fire curtains allow air to get in. |
|