| UK Patent Application No. GB2289222.
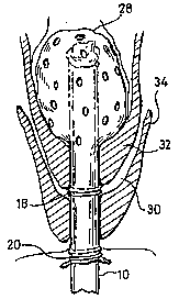
A fart collecting device. It comprises a
gas-tight collecting tube 10 for insertion into
the rectum of the subject. The tube 10 is
connected to a gas-tight collecting bag (not
shown). The end of the tube inserted into the
subject is apertured and covered with a gauze
filter and a gas permeable bladder 28. |
 |
|
 |
UK Patent Application No. GB2221607.
A glove for courting couples who wish to maintain
palm-to-palm contact while holding hands. It has
a common palm section, but two separate sets of
fingers. |
|
 UK Patent Application No. GB2272154.
A ladder to enable spiders to climb out of a
bath. It comprises a thin flexible latex rubber
strip which follows the inner contours of the
bath. A suction pad 5 is attached to the top edge
of the bath.
|
|
| UK Patent Application No. GB2283412.
A chair for coition. Provides support for two
people, one astride the other. In one preferred
form, the seat vibrates. |
 |
|
 |
UK Patent Application No. GB2060081.
A horse-powered minibus. The horse walks along an
endless conveyor belt treadmill in the middle of
the bus. This drives the wheels via a gearbox. A
thermometer under the horse's collar is connected
to the vehicle instrument panel. The driver can
signal to the horse using a handle, which brings
a mop into contact with the horse. |
|
| UK Patent Application No. GB2172200.
An umbrella for wear on the head. The support
frame is designed so as not to mess up the
wearer's hair. Such umbrellas are apparently on
the market, but it's uncertain whether they are
constructed according to the patent application.
|
 |
|
 |
UK Patent Application No. GB2301524.
A "Contoured Ulterior Pouch" (CUP). The
cup W hides and augments a man's scrotum, but has
an opening O leaving his penis P free. "From
time immemorial," says the inventor,
"an integral element of the male psyche has
been his awareness of the presence or absence of
pronounced manly form in his loins. What man not
generously blessed by nature, would not wish for
the carefree confidence of his more robustly
equipped fellows who suffer no modesty when their
manly form naturally draws envious glances."
|
|
| UK Patent Application No. GB2267208.
A portable seat which you wear on a waist-belt.
The seat cushion 18 is pivotable between a stowed
position (left drawing) and a seating position in
which it hangs down so that you can sit on it
(right drawing). |
 |
|
 |
UK Patent Application No. GB2251542.
An ashtray which warns you to quit smoking. When you pick up the box
of matches 5 from the holder 2, light passes through a hole 14 to
a photocell. This activates an audible warning device. |
|
| UK Patent Application No. GB2339950.
A car registration plate which indicates the sex of the driver.
It has different background colours on either side, one colour for men
and one for women. Quick-release clips make it easily reversible.
The inventor says that since the plate makes the driver's sex
immediately apparent, other road users will change the way they behave.
They will become more polite, and predict better the behaviour of other drivers.
The frequency and severity of traffic accidents will be reduced.
|
 |
|